皇冠信用网登3出租_今麦郎手打挂面的“手打”系商标,多个官方旗舰店已停售,客服回应:进行品牌升级而下架
正版皇冠信用网出租(www.hg01.vip)-开会_员出_租平_台)皇冠信用网/—开会员账号—(招登1登2登3管理(代理出租)近日,今麦郎因“手打”商标问题引发公众热议皇冠信用网登3出租。4月1日,今麦郎集团董事长范现国通过视频正式回应此事,宣布将全面停用“手打”商标,并于4月2日起将停止生产任何带有“手打”商标的产品。2日,新黄河记者查询淘宝、京东等平台的今麦郎官方旗舰店发现,相关“手打挂面”商品已检索不到,商家也明确表示“手打挂面因公司主动停用‘手打’商标,进行品牌升级而下架”。
日前,有消费者指出在购买今麦郎“手打挂面”后,发现该产品实际上是流水线工业化生产,并非手工制作,相关话题在网上发布后迅速引起了轩然大波皇冠信用网登3出租。针对此次争议,4月1日,今麦郎集团董事长范现国发布视频作出回应,他表示,“手打”商标是在2006年注册,至今已使用20年,为了避免今后再给消费者带来产品表述上的误解与困扰,今麦郎正式决定,从4月2日凌晨起,立即停止使用“手打”商标。



展开全文
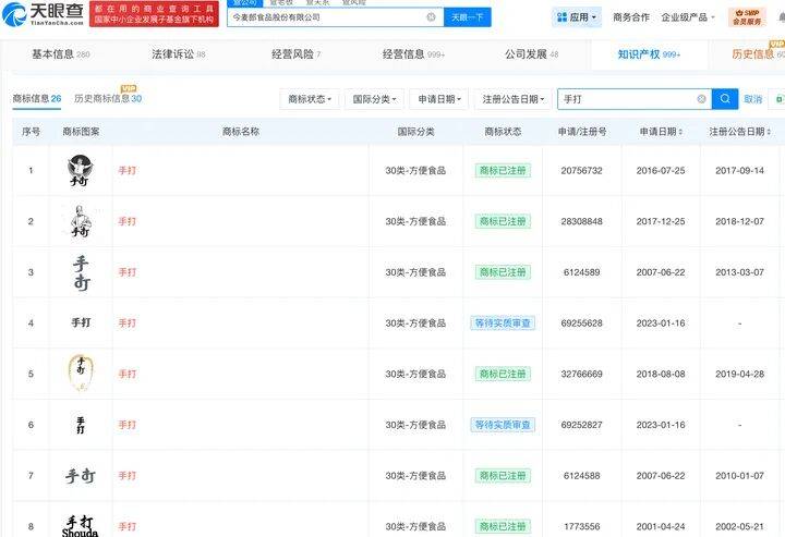
天眼查知识产权信息显示,2001年至2018年,今麦郎食品股份有限公司注册了多个“手打”字样的商标,均属于方便食品系列皇冠信用网登3出租。涉事“手打挂面”所用商标专用权期限为2020年1月7日至2030年1月6日。此外,商标信息显示今麦郎食品股份有限公司“手打”“手打面”“手打鲜粉”等商标曾被驳回,国际分类均为方便食品。

对于今麦郎的此次回应,网友态度莫衷一是皇冠信用网登3出租。一部分网友持认可、褒奖态度,认为今麦郎知错就改、回应迅速,并且针对问题迅速做出企业整改,值得肯定。但也有一部分网友认为今麦郎明知“手打”一词容易误导消费者,却仍然使用该商标长达20年,借助文字游戏模糊产品工艺,利用商标漏洞打擦边球,涉嫌欺骗消费者。

值得注意的是,今麦郎“手打挂面”事件并非个例皇冠信用网登3出租。此前,千禾0添加酱油的“千禾0”、农家土鸡蛋的“农家土”“壹号土猪”的“壹号土”以及“潘婷三分钟奇迹护发素”的“潘婷三分钟奇迹”等,均存在利用描述性词汇注册成商标的操作。这些商标套路往往相似,都是利用商标来模糊商品的真实属性,给消费者带来了消费误导。
此次今麦郎“手打”商标事件,无疑再次给行业敲响了诚信经营的警钟皇冠信用网登3出租。
(新黄河客户端记者韩明霞 实习生谭贻允)
猜你喜欢
- 2026-04-03皇冠信用网会员注册网址_厦门市委书记调整
- 2026-04-03皇冠信用网账号申请_江苏一女子在动物园表演时被火圈烧着裙子
- 2026-04-03皇冠信用网登2_“感谢救我一命”32岁博主嘴唇发紫被粉丝催检查,背上动态检测仪心脏停搏2次,最长3.1秒,医生:很危险,停搏不启动就叫猝死
- 2026-04-03皇冠信用网登3出租_今麦郎手打挂面的“手打”系商标,多个官方旗舰店已停售,客服回应:进行品牌升级而下架
- 2026-04-03皇冠信用网结算日是哪天_弟弟操办父亲丧事墓碑漏刻姐姐名字,法院判加名并赔偿
- 2026-04-02皇冠登录地址_中国女排公布首批集训名单剑指奥运门票
- 2026-04-02皇冠登3代理申请_女子称夜里打车,司机向其展示腹肌并邀请触摸,拒绝后对方突然将手伸至后座,触摸其手部和腿部!当事人:已报警并在平台举报
- 2026-04-01皇冠登1登2登3出租_哈尔滨网红女企业家朱明月去世,年仅41岁
- 2026-03-31皇冠信用怎么弄_美媒:伊朗打得太准了!导弹打出史诗级效果,四枚导弹都落入美军基地
- 2026-03-29皇冠信用网庄家_今年北京第一场春雨晚间到货,明天有6级风!
- 2026-03-29皇冠信用网申请_352枚导弹几乎全被拦截!拆解伊朗导弹在海湾“吃瘪”的真相
- 2026-03-27皇冠信用出租_无人关心马杜罗死活,委内瑞拉新政府加速推进美委关系,将派外交使团去美国履职


网友评论